Chevre Norauto

Postez ici votre sujet si vous pensez qu'il ne correspond à aucun salon répertorié ci-dessus!

Modérateurs : Deuchémoi, zamzam, Eric13190

Répondre
Avatar du membre
Fredjojo
Docteur deuchiste
Docteur deuchiste
Messages : 1317
Enregistré le : 28 mai 2017, 20:13
Ma deuche : 2CV AZA1966 ENAC
Date de naissance : 30 nov. 1963
Localisation : Bois-Colombes // Bar Le Duc 55000

Chevre Norauto

Message par Fredjojo »

Bonjour a tous
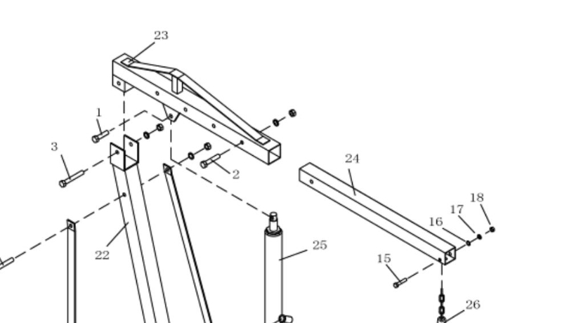
Rien a voir avec la Deuch mais si quelqu'un possède la chèvre Norauto 1T ou 2T peu importe , j'ai besoin des dimensions du carré de la flèche exterieur / intérieur repère 24 de la vue éclaté
chevre norauto.JPG
Merci
Fred


Avatar du membre
Deuchémoi
Docteur deuchiste
Docteur deuchiste
Messages : 16762
Enregistré le : 19 sept. 2009, 17:09
Ma deuche : 2cv6 Spécial AZKA Bleue céleste 11/87
Date de naissance : 30 oct. 1968
Localisation : Vitrolles (13) ... au soleil !!!

Re: Chevre Norauto

Message par Deuchémoi »

Et au SAV, ils ne te donneraient pas la cote ?
https://www.norauto.fr/assistance-sav.html
:o
Pas de demande d'aide mécanique en Message Privé. Toutes les demandes se font dans les salons publics. Merci !
       /¯\
(°\=/°)
... Ma présentation
2cv6 Spécial AZKA Bleue céleste 11/87
       Image

ImageImage  Image
       Image
Avatar du membre
Marc 77
Docteur deuchiste
Docteur deuchiste
Messages : 1907
Enregistré le : 22 mai 2017, 18:46
Ma deuche : Charleston Juin 1990
Date de naissance : 03 déc. 1955
Localisation : Gironde
Âge : 70

Re: Chevre Norauto

Message par Marc 77 »

Je comprends pas il te manque le morceau ? ou tu veux bidouiller quelque chose , la mienne c'est pas Norauto , mais je peux te donner la dimension demain
Atelier en 2015.JPG
[/i]
Avatar du membre
zamzam
Docteur deuchiste
Docteur deuchiste
Messages : 6433
Enregistré le : 22 juin 2011, 21:10
Ma deuche : azam 11/64 ; azlp po 06/59
Date de naissance : 27 juil. 1959
Localisation : Nord bassin d'Arcadichon / Couches du trhone
Âge : 66

Re: Chevre Norauto

Message par zamzam »

Normalement c'est du 50x50 en 3mm d’épaisseur soit 44x44 intérieur ; c'est rigolo ta question, je suis justement en train de regarder toutes les conceptions possibles de grues car je suis entrain de me construire une grue arrière pour mon tracteur ! :D
ça fait longtemps que je le couvais ... j'ai fait une rechute !
La 2CV : la seule voiture "open source"
Avatar du membre
zamzam
Docteur deuchiste
Docteur deuchiste
Messages : 6433
Enregistré le : 22 juin 2011, 21:10
Ma deuche : azam 11/64 ; azlp po 06/59
Date de naissance : 27 juil. 1959
Localisation : Nord bassin d'Arcadichon / Couches du trhone
Âge : 66

Re: Chevre Norauto

Message par zamzam »

Marc 77 a écrit :ou tu veux bidouiller quelque chose
c'est ce que j'ai pensé : il veut se faire un lève plaque pour doubler son plafond ! :mdr:
ça fait longtemps que je le couvais ... j'ai fait une rechute !
La 2CV : la seule voiture "open source"
Avatar du membre
Fredjojo
Docteur deuchiste
Docteur deuchiste
Messages : 1317
Enregistré le : 28 mai 2017, 20:13
Ma deuche : 2CV AZA1966 ENAC
Date de naissance : 30 nov. 1963
Localisation : Bois-Colombes // Bar Le Duc 55000

Chevre Norauto

Message par Fredjojo »

C un peu ca je voulais legerement rallonger la fleche d origine en 2 angle pour soulever la coque j ai trouver ca en cherchant
http://www.casa-trotter.com/phpBB3/viewtopic.php?t=117
Pour le prix celle de norauto est pas mal il manque une poignée pour la guider et le verin quand il fait froid se bloque mais quel idee de bricoler a 1degre
Avatar du membre
webvince
Deuchiste de référence
Deuchiste de référence
Messages : 694
Enregistré le : 26 sept. 2013, 11:42
Ma deuche : 2CV AZKA 6 Spéciale 03/1982
Date de naissance : 02 août 1973
Localisation : Bourges (18)
Âge : 52

Re: Chevre Norauto

Message par webvince »

J'ai la chèvre Norauto, je regarde ça demain.
J'ai sorti mon moteur de Dauph avec, rapport qualité prix imbattable pour un usage de bricoleur.
Carpe diem (quam minimum credula postero)
Cueille le jour présent sans te soucier du lendemain.
Avatar du membre
zamzam
Docteur deuchiste
Docteur deuchiste
Messages : 6433
Enregistré le : 22 juin 2011, 21:10
Ma deuche : azam 11/64 ; azlp po 06/59
Date de naissance : 27 juil. 1959
Localisation : Nord bassin d'Arcadichon / Couches du trhone
Âge : 66

Re: Chevre Norauto

Message par zamzam »

Attention à l'équilibre avec une flèche longue, éventuellement lester la grue. :wink:
ça fait longtemps que je le couvais ... j'ai fait une rechute !
La 2CV : la seule voiture "open source"
Avatar du membre
Deuchémoi
Docteur deuchiste
Docteur deuchiste
Messages : 16762
Enregistré le : 19 sept. 2009, 17:09
Ma deuche : 2cv6 Spécial AZKA Bleue céleste 11/87
Date de naissance : 30 oct. 1968
Localisation : Vitrolles (13) ... au soleil !!!

Re: Chevre Norauto

Message par Deuchémoi »

Si tu viens le chercher, je te refile mon vieux portique de balançoire .... Il reste en place, pas besoin d'équilibrer, et quand viennent les minots, tu les installes dans la coque et tu les balances ...
:laughing:
Image
Pas de demande d'aide mécanique en Message Privé. Toutes les demandes se font dans les salons publics. Merci !
       /¯\
(°\=/°)
... Ma présentation
2cv6 Spécial AZKA Bleue céleste 11/87
       Image

ImageImage  Image
       Image
Avatar du membre
lucky40
Docteur deuchiste
Docteur deuchiste
Messages : 3736
Enregistré le : 10 août 2015, 14:36
Ma deuche : AK400 76
Date de naissance : 22 mars 1955
Localisation : Haute Lande

Re: Chevre Norauto

Message par lucky40 »

Deuchémoi a écrit :Si tu viens le chercher, je te refile mon vieux portique de balançoire .... Il reste en place, pas besoin d'équilibrer, et quand viennent les minots, tu les installes dans la coque et tu les balances ...
:laughing:
Image
Dans le même ordre d'idée, je me suis fabriqué avec des tubes de récupération de section carré un portique dont les quatre pieds sont amovibles pour un rangement optimal d'une part et pour une installation rapide et facile à l'endroit nécessaire. Je sors le moteur de la deudeuche et le remets à ma guise et dernièrement j'ai remonté la BV avec ce portique muni d'un palan à chaîne bien sûr. Une fois terminé tout est rangé dans un coin qui ne gêne personne.
Avatar du membre
papytravaux
Deuchiste intéressé
Deuchiste intéressé
Messages : 95
Enregistré le : 17 mars 2018, 10:23
Ma deuche : 2CV type AZ
Date de naissance : 09 févr. 1947
Localisation : REIMS

Re: Chevre Norauto

Message par papytravaux »

Fredjojo a écrit :Bonjour a tous
Rien a voir avec la Deuch mais si quelqu'un possède la chèvre Norauto 1T ou 2T peu importe , j'ai besoin des dimensions du carré de la flèche exterieur / intérieur repère 24 de la vue éclaté
chevre norauto.JPG
Merci
Fred
bonsoir,
j'ai une grue d'atelier qui ressemble fort d'une capacité de 2T

J'ai prévu comme toi de refaire une potence dans le même esprit et pour le même usage, mais il me semble que le carré est de 70 mm....

J'ai fait un croquis pour optimiser la hauteur de levée tout en ménageant un bon dégagement pour la caisse de voiture...

Par contre j'ai prévu une chape de fixation de vérin positionnée plus haut sur le montant...
.L'intérêt est de pouvoir conserver la capacité de levage avec le crochet toujours en retrait des roues avant...Ainsi le centre de gravité n'est pas en porte à faux au delà de ces dernières..

si toujours d'actualité, dis le moi ( fais un message Mp stp pour m'alerter car je ne regarde pas tous les messages...) je transmettrai mes infos
Avatar du membre
Fredjojo
Docteur deuchiste
Docteur deuchiste
Messages : 1317
Enregistré le : 28 mai 2017, 20:13
Ma deuche : 2CV AZA1966 ENAC
Date de naissance : 30 nov. 1963
Localisation : Bois-Colombes // Bar Le Duc 55000

Re: Chevre Norauto

Message par Fredjojo »

oui hésite pas a me l'envoyer , webvince a dut oublier de regarder du coup j'ai commandé du 50x50 et 60x60 , si cela ne va pas je ferais le support du spare avec .Mais le portique de lucky c'est mieux moi ct pour réutiliser la chevre différemment
Avatar du membre
papytravaux
Deuchiste intéressé
Deuchiste intéressé
Messages : 95
Enregistré le : 17 mars 2018, 10:23
Ma deuche : 2CV type AZ
Date de naissance : 09 févr. 1947
Localisation : REIMS

Re: Chevre Norauto

Message par papytravaux »

bonjour,
quelques infos en attendant le dessin que je dois refaire pour être visible après l'avoir scanné...
mes relevés de côtes en pièce jointe...
Ma chèvre a une capacité de 2 tonnes
le bras de levage principal est en carré de 70 mm et celui de l'intérieur en 60 mm
pour une longueur dépliée maxi de 1490 mm ( entre axes d'articulation du bras et le trou d'axe pour accrocher, chaîne ou autre accessoire...

la hauteur maxi du tube de 60 est à l'origine de 2300 mm

Modifications
1) un nouveau point d'articulation du vérin en point bas prévu 230 mm plus haut
2) prolongement du tube de 60 de 250 mm
3) deuxième tube de 60 mm soudé en bout du premier en formant un angle de 145°
cette modif permet de lever le tube de potence de 60 mm avec le dessus à l'horizontale et à une hauteur au dessus de 2800 mm

sur ma chèvre, l'extrémité du tube de 60 est en porte à faux d'environ 150 mm par rapport à l'axe des roues avant
Fichiers joints
2.pdf
(985.45 Kio) Téléchargé 217 fois
Scan.pdf
(347.54 Kio) Téléchargé 225 fois
Avatar du membre
zamzam
Docteur deuchiste
Docteur deuchiste
Messages : 6433
Enregistré le : 22 juin 2011, 21:10
Ma deuche : azam 11/64 ; azlp po 06/59
Date de naissance : 27 juil. 1959
Localisation : Nord bassin d'Arcadichon / Couches du trhone
Âge : 66

Re: Chevre Norauto

Message par zamzam »

En plus des dimensions des carrés il y a aussi l'épaisseur du métal qu'il faut prendre en compte, pour une bonne résistance il faut au moins du 3mm et 4 ou 5 pour être tranquille.
ça fait longtemps que je le couvais ... j'ai fait une rechute !
La 2CV : la seule voiture "open source"
Avatar du membre
papytravaux
Deuchiste intéressé
Deuchiste intéressé
Messages : 95
Enregistré le : 17 mars 2018, 10:23
Ma deuche : 2CV type AZ
Date de naissance : 09 févr. 1947
Localisation : REIMS

Re: Chevre Norauto

Message par papytravaux »

précision que j'ai totalement omis de faire....pffff

typique des évidences que l'on ne pense pas à souligner...
merci de l'avoir fait
Répondre
www.piecesauto-pro.fr