2 cv Clignotant qui reste fixe allumé
Modérateurs : Deuchémoi, zamzam, Eric13190
- michel28
- Deuchiste confirmé
- Messages : 417
- Enregistré le : 22 sept. 2019, 07:19
- Ma deuche : 2CV Charleston 1983
- Date de naissance : 10 févr. 1943
- Localisation : Maintenon (28)
- Âge : 82
2 cv Clignotant qui reste fixe allumé
Bonjour
Tout est presque dans le titre
Sur ma 2CV de Charleston de 1983
j'ai voulu mettre une lampe témoin, petite lampe trouvée sur la Zone
comme ça ne fonctionnait pas, retour à l'état initial et la, surprise
ça s'allume bien et ça ne clignote plus, ça reste fixe allumé
Si j'ai bien compris le branchement
un plus arrivée en 12V après contact, la masse
et le fil du milieu retour 12V clignotant vers les lampes via le commodo
je pense qu'en manipulant la centrale via ses plots j'ai du la mettre HS
et peut être une autre piste à explorer que je connais pas
Bref mystère
d'avance merci
Michel
Tout est presque dans le titre
Sur ma 2CV de Charleston de 1983
j'ai voulu mettre une lampe témoin, petite lampe trouvée sur la Zone
comme ça ne fonctionnait pas, retour à l'état initial et la, surprise
ça s'allume bien et ça ne clignote plus, ça reste fixe allumé
Si j'ai bien compris le branchement
un plus arrivée en 12V après contact, la masse
et le fil du milieu retour 12V clignotant vers les lampes via le commodo
je pense qu'en manipulant la centrale via ses plots j'ai du la mettre HS
et peut être une autre piste à explorer que je connais pas
Bref mystère
d'avance merci
Michel
- bob41
- Docteur deuchiste
- Messages : 8690
- Enregistré le : 09 mai 2016, 16:00
- Ma deuche : 2CV A 50 ; 2CV AZ 59 ; 2CV azam 65 ; 2CV 6 79 ; Dyane 67 ; AMI6 62 ; AMI8 77 ; HY 72 67
- Date de naissance : 26 sept. 1966
- Localisation : Sologne viticole (Contres) et Corse (Loreto-di-Casinca)
- Âge : 59
Re: Clignotant qui reste fixe allumé

Apparemment c'est bien branché...
Il est possible effectivement qu'en reliant une lampe témoin à la centrale tu aies provoqué un court circuit ou une surcharge et que ça ait mis la centrale HS.
Sur ma 2 CV 6, la centrale, d'origine à trois plots, était HS. J'ai acheté une centrale à 4 plots pour pouvoir mettre une lampe témoin. Jamais réussi à faire fonctionner le tout, pourtant branché correctement. J'ai donc supprimé la lampe témoin.
J'ai mesuré les diverses tensions, j'ai obtenu des résultats bizarres. Si j'y pense je referai les mesures et vous donnerai les résultats


- michel28
- Deuchiste confirmé
- Messages : 417
- Enregistré le : 22 sept. 2019, 07:19
- Ma deuche : 2CV Charleston 1983
- Date de naissance : 10 févr. 1943
- Localisation : Maintenon (28)
- Âge : 82
Re: Clignotant qui reste fixe allumé
Re
Merci
C'est bien un peu ce que je pense ... légère surcharge ... hop HS
j'attend une centrale de chez 2cvp
on verra après
Merci
C'est bien un peu ce que je pense ... légère surcharge ... hop HS
j'attend une centrale de chez 2cvp
on verra après
- Mikey 71
- Docteur deuchiste
- Messages : 2063
- Enregistré le : 30 sept. 2018, 13:05
- Ma deuche : 2cv6 AZ KA 21/01/1985
- Date de naissance : 04 juil. 1978
- Localisation : Chambilly 71
- Âge : 47
Re: Clignotant qui reste fixe allumé
michel28 a écrit :Re
Merci
C'est bien un peu ce que je pense ... légère surcharge ... hop HS
j'attend une centrale de chez 2cvp
on verra après

Salut Michel, oui tiens nous au courant, car j'aimerai bien faire cette manip aussi, mais sans rien griller


- renato13
- Docteur deuchiste
- Messages : 11498
- Enregistré le : 26 juil. 2011, 10:41
- Ma deuche : azlp grise 1960
- Date de naissance : 06 nov. 1955
- Localisation : istres
Re: 2 cv Clignotant qui reste fixe allumé

Tes feux de détresse il fonctionne ou pas .

- michel28
- Deuchiste confirmé
- Messages : 417
- Enregistré le : 22 sept. 2019, 07:19
- Ma deuche : 2CV Charleston 1983
- Date de naissance : 10 févr. 1943
- Localisation : Maintenon (28)
- Âge : 82
Re: 2 cv Clignotant qui reste fixe allumé
Re
Les feux de détresse restent allumés fixe, pareil que pour les clignotants
donc c'est la centrale clignotante qui pilote tout ... a mon avis
Les feux de détresse restent allumés fixe, pareil que pour les clignotants
donc c'est la centrale clignotante qui pilote tout ... a mon avis
- renato13
- Docteur deuchiste
- Messages : 11498
- Enregistré le : 26 juil. 2011, 10:41
- Ma deuche : azlp grise 1960
- Date de naissance : 06 nov. 1955
- Localisation : istres
Re: 2 cv Clignotant qui reste fixe allumé
michel28 a écrit :Re
Les feux de détresse restent allumés fixe, pareil que pour les clignotants
donc c'est la centrale clignotante qui pilote tout ... a mon avis

C'est pour cette raison que je tes poser cette question , ta centrale et hs .

- michel28
- Deuchiste confirmé
- Messages : 417
- Enregistré le : 22 sept. 2019, 07:19
- Ma deuche : 2CV Charleston 1983
- Date de naissance : 10 févr. 1943
- Localisation : Maintenon (28)
- Âge : 82
Re: 2 cv Clignotant qui reste fixe allumé
Bonjour
Reçu ce jour ma centrale clignotante de 2cvp
je l'ai monté et tout est rentré dans le(s) ordres y compris Warning
la question à la con que je me pose pourquoi elle à claquée cette centrale en voulant tester une petite lampe témoin
trouvé sur la Zone
https://www.amazon.fr/gp/product/B07P5Z ... UTF8&psc=1
Comme je suis un peu sourd, j'ai besoin d'un témoin lumineux
Ce témoin se branche ou sur la borne C ou R
je crois que le problème de la centrale devenue HS
j'ai mis un fil de la lampe témoin à la masse et l'autre sur R
je pense que un fil sur la borne R ou L suivant appro = vers témoin tableau de bord suivant lecture trouvée sur le web
je pense qu'il faut donc mettre un fil sur le R et l'autre sur + et non à la masse encore que pas sur du tout
Merci d'éclairer ma lanterne
Cordialement
Michel
Reçu ce jour ma centrale clignotante de 2cvp
je l'ai monté et tout est rentré dans le(s) ordres y compris Warning
la question à la con que je me pose pourquoi elle à claquée cette centrale en voulant tester une petite lampe témoin
trouvé sur la Zone
https://www.amazon.fr/gp/product/B07P5Z ... UTF8&psc=1
Comme je suis un peu sourd, j'ai besoin d'un témoin lumineux
Ce témoin se branche ou sur la borne C ou R
je crois que le problème de la centrale devenue HS
j'ai mis un fil de la lampe témoin à la masse et l'autre sur R
je pense que un fil sur la borne R ou L suivant appro = vers témoin tableau de bord suivant lecture trouvée sur le web
je pense qu'il faut donc mettre un fil sur le R et l'autre sur + et non à la masse encore que pas sur du tout
Merci d'éclairer ma lanterne
Cordialement
Michel
- renato13
- Docteur deuchiste
- Messages : 11498
- Enregistré le : 26 juil. 2011, 10:41
- Ma deuche : azlp grise 1960
- Date de naissance : 06 nov. 1955
- Localisation : istres
Re: 2 cv Clignotant qui reste fixe allumé

J'aime pas trop donner des conseils en électricité, les 2cv on toute était traficoter, les faisceaux changer,
bref 'c'est impossible a suivre un plan , les couleurs de fils la plus part du temp son de couleurs différente ,.
Bref pour rien griller et faire quelques chose de bien ,prend ton multimètre ,et test tes fil sur la centrale clignotant droite et gauche.
Ensuite tu fait un pontage , sur le fil rouge de ton voyant ,sur la sortie cligno,et l'autre a la masse. ET pareil pour l'autre coté,
ensuite tu place ton voyant ou tu veut . C'est simple a faire sans aucun risque de griller un truc .

- michel28
- Deuchiste confirmé
- Messages : 417
- Enregistré le : 22 sept. 2019, 07:19
- Ma deuche : 2CV Charleston 1983
- Date de naissance : 10 févr. 1943
- Localisation : Maintenon (28)
- Âge : 82
Re: 2 cv Clignotant qui reste fixe allumé
Re
Merci du renseignement
avec le multimètre je teste, un fil à la masse, l'autre fil du multimètre
ou sur la sortie clignotant Cou L
et suivant résultat des courses on teste l'autre sortie P ou R
ça me parait cohérent
Pour Info
j'ai démonté et sortie sur la centrale HS, le fil fin long s'est cassé
au final je ne pense pas que ce soit une mauvaise manip
mais à ça rendu l'âme pendant les manips et ça n'a pas aimé
elle était de 1990 cette centrale Cartier à bilame (date écrit dessus)
Merci du renseignement
avec le multimètre je teste, un fil à la masse, l'autre fil du multimètre
ou sur la sortie clignotant Cou L
et suivant résultat des courses on teste l'autre sortie P ou R
ça me parait cohérent
Pour Info
j'ai démonté et sortie sur la centrale HS, le fil fin long s'est cassé
au final je ne pense pas que ce soit une mauvaise manip
mais à ça rendu l'âme pendant les manips et ça n'a pas aimé
elle était de 1990 cette centrale Cartier à bilame (date écrit dessus)
- renato13
- Docteur deuchiste
- Messages : 11498
- Enregistré le : 26 juil. 2011, 10:41
- Ma deuche : azlp grise 1960
- Date de naissance : 06 nov. 1955
- Localisation : istres
Re: 2 cv Clignotant qui reste fixe allumé
michel28 a écrit :Re
Merci du renseignement
avec le multimètre je teste, un fil à la masse, l'autre fil du multimètre
ou sur la sortie clignotant Cou L
et suivant résultat des courses on teste l'autre sortie P ou R
ça me parait cohérent
Pour Info
j'ai démonté et sortie sur la centrale HS, le fil fin long s'est cassé
au final je ne pense pas que ce soit une mauvaise manip
mais à ça rendu l'âme pendant les manips et ça n'a pas aimé
elle était de 1990 cette centrale Cartier à bilame (date écrit dessus)

Oui ton multimètre , un fil a la masse l'autre sur la sortie cligno,et tu a aucun risque de griller quoi que se soi.
En fonction du résultat tu ponte le fil rouge de ton voyant avec ,et le noir a la masse.

- michel28
- Deuchiste confirmé
- Messages : 417
- Enregistré le : 22 sept. 2019, 07:19
- Ma deuche : 2CV Charleston 1983
- Date de naissance : 10 févr. 1943
- Localisation : Maintenon (28)
- Âge : 82
Re: 2 cv Clignotant qui reste fixe allumé
Re
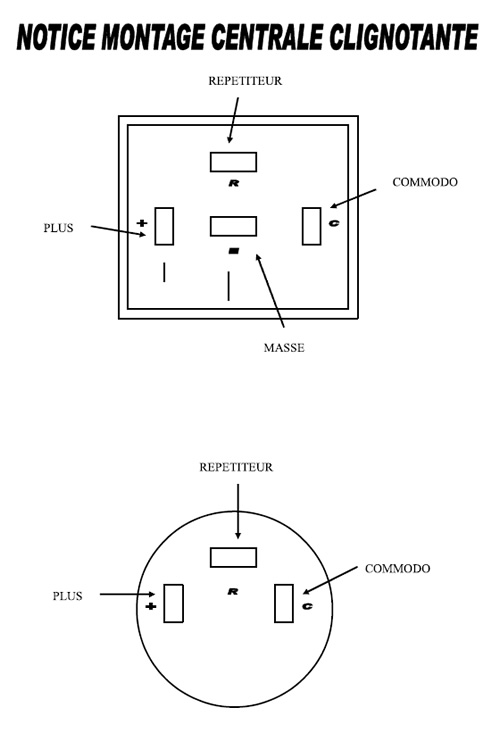
Branchement d'une lampe témoin
un fil à la masse, l'autre sur le répétiteur et la lampe fonctionne
en mode clignotant, D ou G et Warning
Ce qui avait rendu je pense la centrale HS c'est le fait d'avoir forcé un peu sur
la cosse répétiteur, ça avait cassé un "fil" très tendu dans la centrale de "1990"
Pour info et bonne soirée
Branchement d'une lampe témoin
un fil à la masse, l'autre sur le répétiteur et la lampe fonctionne
en mode clignotant, D ou G et Warning
Ce qui avait rendu je pense la centrale HS c'est le fait d'avoir forcé un peu sur
la cosse répétiteur, ça avait cassé un "fil" très tendu dans la centrale de "1990"
Pour info et bonne soirée
- patlem
- Deuchiste intéressé
- Messages : 60
- Enregistré le : 01 nov. 2019, 18:21
- Ma deuche : 2CV6
- Date de naissance : 22 déc. 1958
- Localisation : Coulommiers
Re: 2 cv Clignotant qui reste fixe allumé
Le principe d'une centrale clignotante d'origine est simple
Tu a une petite résistance monté en série avec une pièce métallique ( Bilame) qui va se déformer avec la chaleur
Tant que courant passe , l'ampoule est allumée
Au bout de quelques seconde , le bilame s'écarte suffisamment pour couper le courant, ce qui pour effet d'éteindre l'ampoule
Dans ce cas le bilame va refroidir et reprendre sa forme initiale, tout en retouchant le contact, de ce fait la courant repasse de nouveau
Et c'est réparti pour un tour

La résistance est en fait un petit filament assez fragile
Attention, pour ce genre de centrale, il est impossible de remplacer les ampoules à filaments par de la Led car il n'y aura pas assez de courant pour faire chauffer le filament
Tu a une petite résistance monté en série avec une pièce métallique ( Bilame) qui va se déformer avec la chaleur
Tant que courant passe , l'ampoule est allumée
Au bout de quelques seconde , le bilame s'écarte suffisamment pour couper le courant, ce qui pour effet d'éteindre l'ampoule
Dans ce cas le bilame va refroidir et reprendre sa forme initiale, tout en retouchant le contact, de ce fait la courant repasse de nouveau
Et c'est réparti pour un tour

La résistance est en fait un petit filament assez fragile
Attention, pour ce genre de centrale, il est impossible de remplacer les ampoules à filaments par de la Led car il n'y aura pas assez de courant pour faire chauffer le filament